伯虎点睛:站在第一梯队的哪吒汽车,有一个致命的软肋。
“我命由我不由天!”这句台词从哪吒口中说出来的那一刻,大概唤醒了很多人的青春记忆。在新能源汽车品牌爆发的年份,合众公司把汽车品牌以“哪吒”命名,个中意思不言而喻。
国庆七天乐后,新能源汽车9月的数据也出来了,哪吒汽车以7699的交付量超过理想,再次挤进“造车新势力”前三。
哪吒汽车最早进入造车新势力前三还是今年5月,那时候销量还只有4508辆;之后就是8月,蔚来销量下滑,哪吒再次挤进造车新势力第一阵营。
明显可以感觉到的是,国内的造车新势力格局正在发生微妙的变化,原来高不可攀的第一阵营选手与哪吒汽车的差距正在缩小,以至于“蔚小理”一出现什么差池,哪吒这个替补选手就接替上去,成功晋级。
现在,与其分析为什么“蔚小理”排位开始生变,不如来探究下,哪吒汽车为什么可以冲破第一阵营的防线?此外,对于成立7年鲜为人知的哪吒汽车,它的问题在哪?
1.不惑之年再创业
哪吒汽车的名声并不响亮,从2018年儿童节哪吒汽车品牌诞生以来,哪吒就长期和零跑、天际等第二阵营的汽车品牌淹没在“蔚小理”的威名之下。
不过,哪吒汽车最早还要追溯到2014年10月。彼时,原奇瑞新能源项目负责人方运舟辞去职务,拉着前奇瑞的老同事,在浙江桐乡创建了合众新能源汽车有限公司,也就是哪吒汽车的母公司。
据说当时方运舟还找到奇瑞董事长尹同跃做了私谈,尹同跃笑称,“你这小子,忘恩负义。奇瑞新能源业务是你搞起来的,你也舍得,你以为创业这么容易,你看我现在头发都白了。”方运舟的回答说,“您也是40岁左右创立了奇瑞,我也要向您学习呢。”那年,方运舟39岁。
根据公开数据,方运舟是清华大学博士后,国家新能源汽车专家,已经在新能源汽车领域深耕20多年,他带领的团队创建了国内最早的新能源汽车研发平台和体系。可以说,方运舟是一位妥妥的技术出身的创始人。
不过,方运舟比较低调。2018年,随着张勇的加入,方运舟开始退居幕后。
张勇也曾在奇瑞新能源工作,在方运舟创建合众新能源的同年,张勇跳槽到了北汽新能源,主要负责渠道建设、市场销售、售后服务和品牌推广等业务。在北汽任职的这4年,最耀眼的战绩当属2017.。这年北汽新能源在张勇的带领下,实现年销10万辆的突破,超越特斯拉,成为新能源纯电动的全球销量冠军。
张勇加入合众新能源的节点也很重要。如果说2018年之前,在方运舟带领下的合众新能源把精力集中在攻技术、弄汽车资质、建生产基地上(桐乡工厂2018年5月竣工),那么在2018年后,随着哪吒汽车品牌的落地,合众新能源要开始卖车了。
而方运舟之所以把重担交给张勇,一是其不可否认的业务能力,二是,张勇务实的风格与合众新能源的理念相符。
今年5月,在哪吒汽车销量超越理想,成功晋级第一梯队后,张勇在朋友圈发动态说,“五月份哪吒汽车的交付数量短暂地超过理想,这说明不了什么。理想处于新老产品切换的特殊时期,一个月的销量起伏没什么大不了的。理想的产品力够强,销量会很快追上来。”
果然,理想经历5月的销量滑坡后,6月的销量一下子突飞猛进,环比增长78.4%,登上第二名,仅比蔚来少个370辆。这充分反映了张勇对行业格局的清晰观察。
尤其难能可贵的是,在不管哪个行业都在“遥遥领先同行”,没有条件也要创造条件,用一系列定语“遥遥领先同行”的风气下,张勇的这波回话着实一股清流,体现了个人务实的管理风格。
如果说,后起的哪吒汽车为什么可以在当初200多个汽车品牌中活下来,领导层务实的管理风格大概要邀不少的功。
2.“平民”陷阱
在今年6月,哪吒汽车的首个粉丝节上,首席执行官张勇说:“哪吒汽车不做富人的玩具,只做老百姓买得起的车。”
如果说哪吒有什么问题,大概这就是问题。做平民的车不成问题,但陷在低端车泥潭的哪吒,就是很大的问题。
截至目前,哪吒已经卖过三款车型,分别是纯电动SUV哪吒N01、情感纯电SUV哪吒U(后来又有了哪吒U Pro),以及哪吒V。
除开哪吒U Pro售价超过10万外,其余的车型价格均在10万以下,比如现在还在售的哪V,起售价5.99万元,很符合哪吒“老百姓买得起的车”的定位。
卖30万、40万的蔚来、理想们都在亏钱,哪吒大概也逃不出这样的命运。
从定价上就可以看出,哪吒与“蔚小理”的销量对比就具有先天性的劣势,人家至少一辆顶三。
不过有分析认为,哪吒之所以进攻低端市场,并不像张勇描述上表现的那么伟大,可能就是缺钱。
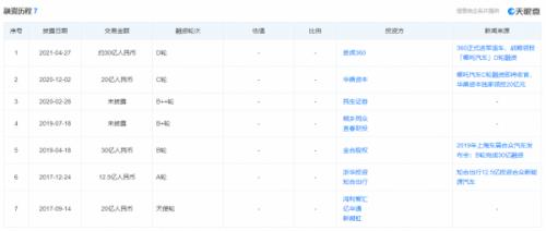
相比一线的造车新势力都背靠大厂,哪吒汽车就寒酸的多了。据天眼查APP显示,合众新能源汽车的注册资金16亿,从成立至今,总共融资7次,根据披露的资金来看,也就112.5亿,按照行业200亿的造车门槛,哪吒大概门票都买不了。

但哪吒活下来了,这也说明了内行人造车的优势所在。合众新能源具有很强的制造能力。
目前,哪吒已经拥有HPC与HPA两大纯电动汽车平台,涵盖了A0到A+级主流车型,比如,在HPA下面生产的哪吒N01和哪吒V,在HPC下面生产的哪吒U,以及定位高端轿跑的哪吒S。
此外,合众新能源也有自建的车厂。桐乡工厂在2018年竣工后,已经拥有8万的产能。目前在宜春的工厂也在建设当中,根据媒体的报道,该工厂将在年底竣工投产。届时,哪吒汽车的年产能将增加到15万台。
这个产能相比蔚小理来说还差点,但是对于哪吒目前来说已经够用了。
按照张勇未来的规划,2025年实现50万台的销量,相比理想的160万辆的计划,也算诚实。不过,这个数字就算打个对折,估计产能还是很有压力。不过,这都是以后的事了,到时候如果真能卖这么多,估计都有自己的办法。
那,哪吒汽车真正的问题在哪呢?
3.不做华为INSIDE
不管是“平民陷阱”还是产能,但这些都不能成为哪吒真正的瓶颈,真正能限制哪吒的,是软件,是自动驾驶,是智能物联。
我们知道,哪吒汽车幕后的方运舟是搞技术的,他本身是个工程师,对新能源车已经研究了20多年,积累了深厚的经验。但仅限新能源车,而非智能汽车。而张勇的加盟,只是负责给哪吒卖新能源车的,并不能提供在智能汽车上的实质性帮助。
在蔚来汽车出来自动驾驶事故之前,造车新势力车企对于自动驾驶技术宣传可以说是天花乱坠,为了表明自己的自动驾驶技术比友商高级,车企不惜自己细分出来L2.5,L2.99这样的级别来。
但是哪吒汽车,每一辆车出来,你都看不到它对于自动驾驶技术,或者汽车智能化技术的宣传。你可以说哪吒实在,甚至可以说管理层意识到了目前的自动驾驶就是一个幌子,入不敷出,这是缺钱的哪吒最好的路线。
但不可否认的是,哪吒汽车在自动驾驶、汽车智能化这一块,确实落后很多了。
今年7月7日,哪吒汽车才在微信公众号发文称,工程师已在研发自动驾驶功能,预计会在部分车型上配备。
在哪吒官网上,在售的两款车型,只有哪吒U Pro具有L2+级的自动驾驶功能,在哪吒V上,有一个全触控的14.6大屏和AI智能语音交互。
可以判断的是,哪吒在硬件制造上不成问题,但在软件上,却有致命的缺陷。
今年7月,网信浙江公众号通报哪吒汽车存在违规搜集个人信息的情况。而在不久前,哪吒汽车还刚刚与360合作,说是要帮助哪吒汽车做好软件安全的问题。
不过360和哪吒的合作也备受质疑,于是,不久前哪吒找到了华为。
8月25日,合众新能源与华为签署全面合作协议,根据协议内容,哪吒汽车与华为将在智能网联、车载计算、智能驾驶、数字能源及云服务等领域展开全面合作。具体来说,明年的哪吒S就将应用华为MDC智能驾驶计算平台及激光雷达技术。
可以看见的是,在软件技术拖后腿的情况下,哪吒汽车虽然在销量上已经赶上了第一梯队,但是在核心的汽车智能化技术方面,却只能依赖合作以赶上队伍。
有意思的是,哪吒汽车相关人士特别强调,“哪吒不做华为INSIDE”。
哪吒能从新能源汽车的浪潮中突围,并在造车第一阵营和第二阵营之间自由行走,很大一部分原因在于创始人在新能源汽车方面的深厚积累。但是在智能汽车这块,哪吒汽车暴露出了它的缺陷,不得不借助外部力量来达到平衡。软件能力,成了哪吒汽车在第一阵营最不体面的软肋。
参考来源:
1.汽车经:哪吒汽车的困境
2.第一电动:哪吒牵手华为但不做华为INSIDE
3.创事记:360,车为谁而造?

扫一扫关注微信